SZF型慣性振動熱料輸送機




熱料輸送機生產現場
一、用途及特點
1、用途
SZF型慣性振動熱料輸送機是一種兼有鎖風功能的長距離輸送設備。該輸送機適用于輸送各種中等塊度以下的散粒狀物料及水平輸送(<5000c)高溫高磨耗物料,如烘干熱礦渣、水泥熟科等。適用于水泥立窯窯下,做料封出料機。
SZF型慣性振動輸送機是一種通用輸送機械,除用于水泥行業外.輸送機還可用于冶金、礦山、化工電力等行業,是一種理想的新型輸送設備。
2、輸送機特點
(1)輸送距離長,輸送旦大 能耗低,噪音小,輸送高溫物料時不用熱態調整。
(2)結構簡單、安裝方便,磨損少,維修工作員小。
(3)性能穩定、工作可靠*起動、停車快且乎穩。
(4)可多點進出料,隔振性能好*庫項庫底均可采用。
(5)全封閉結構,做水平料封出料機時,鎖風效果良好。
二、輸送機技術性能參數:
1、輸送量:50噸/時
2、機槽寬度:400毫米
3、輸送長度:6—30米
4、輸送機整機功率:
輸送長度小于10米時為1.5千瓦×2
輸送長度在10米至20米時為2.2千瓦×2
輸送長度貍o米至30米時為3千瓦×2
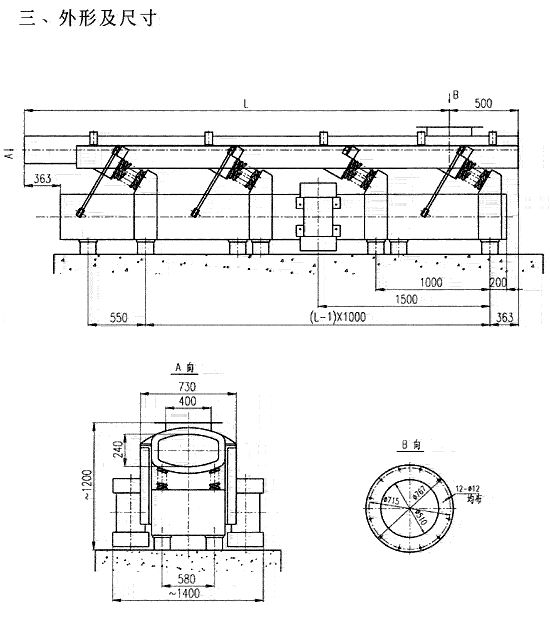
5、輸送機整機外型(高×寬)·1200×730毫米
6、設備重量:輸送機每米重量約350公斤





熱料輸送機生產現場
一、用途及特點
1、用途
SZF型慣性振動熱料輸送機是一種兼有鎖風功能的長距離輸送設備。該輸送機適用于輸送各種中等塊度以下的散粒狀物料及水平輸送(<5000c)高溫高磨耗物料,如烘干熱礦渣、水泥熟科等。適用于水泥立窯窯下,做料封出料機。
SZF型慣性振動輸送機是一種通用輸送機械,除用于水泥行業外.輸送機還可用于冶金、礦山、化工電力等行業,是一種理想的新型輸送設備。
2、輸送機特點
(1)輸送距離長,輸送旦大 能耗低,噪音小,輸送高溫物料時不用熱態調整。
(2)結構簡單、安裝方便,磨損少,維修工作員小。
(3)性能穩定、工作可靠*起動、停車快且乎穩。
(4)可多點進出料,隔振性能好*庫項庫底均可采用。
(5)全封閉結構,做水平料封出料機時,鎖風效果良好。
二、輸送機技術性能參數:
1、輸送量:50噸/時
2、機槽寬度:400毫米
3、輸送長度:6—30米
4、輸送機整機功率:輸送長度小于10米時為1.5千瓦×2
輸送長度在10米至20米時為2.2千瓦×2
輸送長度貍o米至30米時為3千瓦×2
5、輸送機整機外型(高×寬)·1200×730毫米
6、設備重量:輸送機每米重量約350公斤







